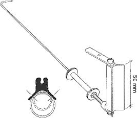
Gooseneck/kicking strap

Gooseneck Strap item 5
Ref. Details
5 For round mast, to suit 36R, IOM
downloadable drawing